![]() |
| (Source: Techeye21) |
DFS has suffered a setback in its attempt to invalidate TechEye's patent for a notching press, as both a nullity trial and a scope confirmation trial have failed to deliver the outcome it sought.
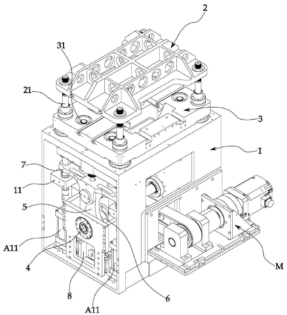
The patent at the center of the dispute is TechEye's "Notching Press" (KR2097512), which covers key technologies related to a notching press machine used for roll-to-roll processing of polymer films.
The patented invention utilizes servo motors and a dual cam system to enhance precision and prevent motor overload. Structurally, the press features upper and lower bases equipped with dies that ascend and descend in opposite directions, while functionally, it incorporates compensation mechanisms (A1 and A2) to counterbalance the gravitational load during the descent of the bases, ensuring motor stability and preventing overload and loss of precision.
TechEye argues that the dual cam system allows for a minimized machine footprint while maintaining ample internal space for ease of manufacturing and maintenance, as well as improved balance in servo motor operation, resulting in higher punching precision.
DFS challenged the validity of the patent in December 2023 through a nullity trial, and in June 2024 filed a negative scope confirmation trial to assert that its product did not fall within the scope of the patent.
In August 2024, the Korean Intellectual Property Trial and Appeal Board (KIPTAB) dismissed DFS's invalidation claim. In the scope confirmation trial, the board partially sided with DFS, determining that the "Notching Press" described in the disputed patent does not infringe the scope of claims 3 to 6. However, KIPTAB denied DFS's claim regarding claims 1 and 2, leaving open the possibility that the alleged invention could fall within the scope of these claims.
As a result, DFS remains entangled in its legal battle over TechEye's notching press patent, with key claims still potentially posing a threat of infringement.
![]() |
| (Source: Figure from TechEye's "Notching Press" Patent (KR2097512)) |


Comments
Post a Comment